Kubota B2410HSE Tractor Parts Manual PDF
[]This PDF Parts Manual contains detailed electric schemes, diagrams, step by step instructions, different information about parts for Kubota B2410HSE Tractor. The electronic catalog contains settings, technical data, service parts, operation, settings, troubleshooting, accessories, a list of parts, including detailed illustrations, screenshots, tables, and others.
Please, take the time to read all pages with information specially the rules and notes to avoid any breakdowns and injuries. The Factory file comes in PDF format with 309 pages in English. All pages are printable. To work with the PDF manual you need to install the application Adobe Acrobat Reader.
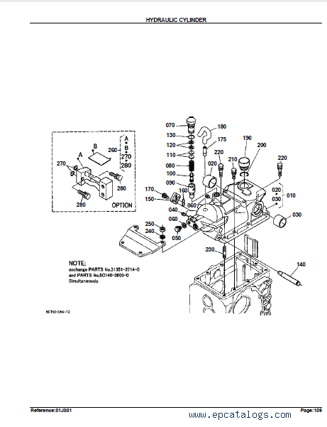
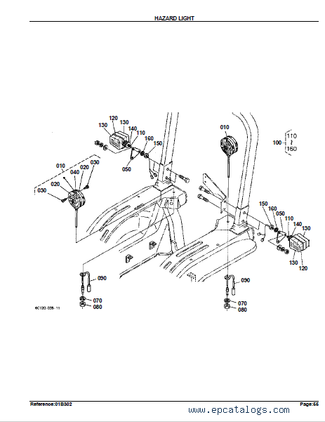
Screenshots for Kubota B2410HSE Tractor Parts Manual PDF:
Our company provides for sale original spare part catalogs, workshop manuals, diagnostic software for all models of engines, cars, trucks, buses, forklifts, tractors, harvesters, cranes, buldozers, generators, construction and agricultural machines, motorcycles. To purchase a catalog online, please add the product to your cart, fill in the contact form online. Our managers proceed your order the same day.
Related products for Kubota B2410HSE Tractor Parts Manual PDF:
Kubota Engines spare parts catalog
Kubota Engines is a catalog of original spare parts that consists of a comprehensive directory containing full technical information about parts and accessories, parts book, parts manuals, intended for engines of Kubota.
150$
[01/2011]
|
Kubota Engines Repair
Repair Manual Engine Kubota dealer documentation is a directory, which contains guidance on repair and maintenance, provides a complete description of the diagnosis, including moments of delays, the process of assembly and disassembly of the engine and other units and units, all electrical devices and control units, the necessary special tool as well as other information. The electronic Kubota Engines Repair Manual contains technical information on these engine models, Kubota - 03-M-E2B, 03-M-E3B SERIES, 03-M-DI-E3B SERIES, 03-M-E3BG SERIES, V3300-E2B, V3300- T-E2B, V3-E3B SERIES, V3-E3CB SERIES, V3-E3BG SERIES, 03-M-E3B Series, 03-M-DI-E3B Series, 03-M-E3BG Series.
150$
[1/2011]
|
Kubota KX161
Kubota KX161 electronic catalog is a directory that contains a detailed list of spare parts and accessories of different models of excavators Kubota.
60$
[1/2006]
|
Kubota G21LD, G21HD Workshop Manual PDF
PDF workshop manual has been prepared to provide servicing personnel with information on the mechanism, service and maintenance of G21LD and G21HD.
40$
[08/2007]
|





