John Deere 762A Scraper TM1225 Technical Manual PDF
[07/1984]Technical manual contains service information, complete description of repair and troubleshoot procedures, installation instructions, special instructions, troubleshooting and any additional information for John Deere scraper 762A.
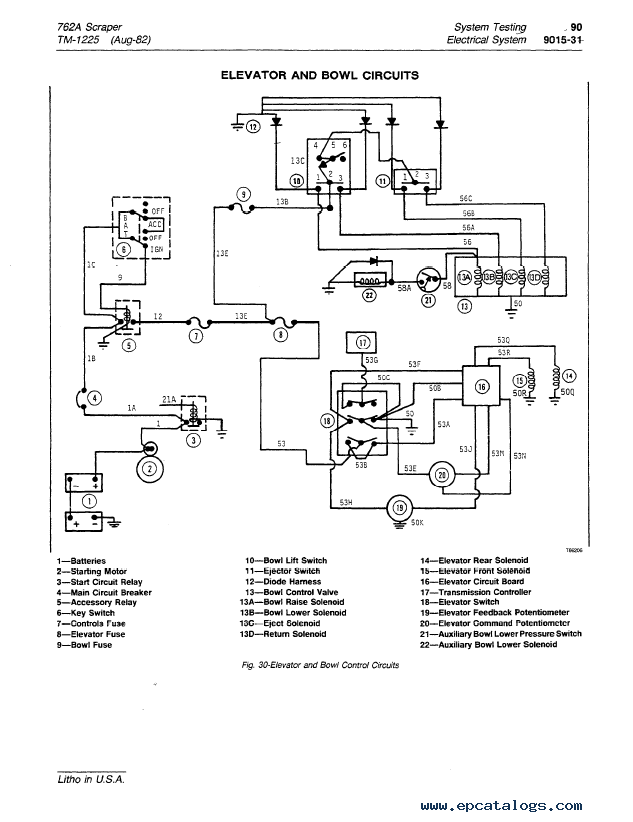
This technical manual includes detailed pictures, schematics and diagrams, using which you can determine the installation location spare parts, etc.
This technical manual is a file PDF, which contains 1304 pages, any one of which we can be printed easily. We recommend to use Adobe PDF Reader, to be sure all images / graphics will display correctly.
SECTION AND GROUP CONTENTS OF THIS MANUAL:
- SECTION I - GENERAL INFORMATION
- Group I - Contents and Index
- Group II - Introduction and Safety Information
- Group III - General Specifications
- Group IV - Predelivery, Delivery and After Sale Services
- Group V - Fuels and Lubricants
- SECTION 1 - WHEELS
- Group 0110 - Powered Wheels and Fastenings
- Group 0120 - Non-Powered Wheels and Fastenings
- Group 0199 - Specifications and Special Tools
- SECTION 2 - AXLES AND SUSPENSION SYSTEMS
- Group 0201 - Drive Axle Housing and Support
- Group 0210 - Differential or Bevel Drive
- Group 0225 - Input Drive Shafts and U-Joints
- Group 0230 - Non-Powered Wheel Axles
- Group 0250 - Axle Shafts, Bearing and Reduction Gears
- Group 0260 - Hydraulic System
- Group 0299 - Specifications and Special Tools
- SECTION 3 - TRANSMISSION
- Group 0325 - Input Drive Shafts and U-Joints
- Group 0341 - Housings and Covers
- Group 0342 - Mounting Parts
- Group 0350 - Gears, Shafts, Bearing and Power Shift Clutch
- Group 0360 - Hydraulic System
- Group 0399 - Specifications and Special Tools
- SECTION 4 - ENGINE
- Group 0400 - Removal and Installation
- Group 0401 - Crankshaft and Main Bearings
- Group 0402 - Camshaft and Valve Actuating Means
- Group 0403 - Connecting Rods and Pistons
- Group 0404 - Cylinder Block
- Group 0407 - Oiling System
- Group 0408 - Ventilating System
- Group 0409 - Cylinder Head and Valves
- Group 0410 - Exhaust Manifold
- Group 0413 - Fuel Injection System
- Group 0414 - Intake Manifold
- Group 0416 - Turbocharger
- Group 0417 - Water Pump
- Group 0418 - Thermostats, Housing and Water Piping
- Group 0419 - Oil Cooler
- Group 0420 - Fuel Filter
- Group 0422 - Starting Motor and Fastenings
- Group 0429 - Fan Drive
- Group 0433 - Flywheel, Housing and Fastenings
- Group 0499 - Specifications and Special Tools
- SECTION 5 - ENGINE AUXILIARY SYSTEMS
- Group 0505 - Cold Weather Starting Aids
- Group 0510 - Cooling Systems, Radiator, Fan Shroud and Fan
- Group 0515 - Speed Controls
- Group 0520 - Intake System
- Group 0530 - External Exhaust System
- Group 0540 - Mounting Frame
- Group 0560 - External Fuel Supply Systems
- SECTION 6 - TORQUE CONVERTER
- Group 0641 - Housing abd Cover
- Group 0651 - Turbine, Gears, Shaft, etc.
- Group 0660 - Hydraulic System
- Group 0699 - Specifications and Special Tools
- SECTION 9 - STEERING SYSTEM
- Group 0920 - Power Steering
- Group 0960 - Hydraulic System
- Group 0999 - Specifications and Special Tools
- SECTION 10 - SERVICE BRAKES
- Group 1011 - Active Elements
- Group 1015 - Controls Linkage
- Group 1060 - Hydraulic System
- Group 1099 - Specifications and Special Tools
- SECTION 11 - PARKING-EMERGENCY BRAKES
- Group 1111 - Active Elements
- Group 1115 - Controls Linkage
- Group 1199 - Specifications and Special Tools
- SECTION 13 - MISCELLANEOUS VEHICLE
- Group 1370 - Lubrication System
- SECTION 16 - ELECTRICAL SYSTEM
- Group 1671 - Batteries, Support and Cables
- Group 1672 - Alternator, Regulator and Charging System Wiring
- Group 1673 - Lighting System
- Group 1674 - Wiring Harness and Switches
- Group 1675 - System Controls
- Group 1676 - Instruments and Indicators
- Group 1699 - Specifications and Special Tools
- SECTION 17 - FRAME, CHASSIS OR SUPPORTING STRUCTURE
- Group 1740 - Frame Installation
- Group 1799 - Specifications and Special Tools
- SECTION 18 - OPERATOR'S STATION
- Group 1810 - Operator Enclosure
- Group 1821 - Seat and Seat Belt
- Group 1830 - Heating and Air Conditioning
- Group 1899 - Specifications and Special Tools
- SECTION 19 - SHEET METAL AND STYLING
- Group 1910 - Hood or Engine Enclosure
- Group 1921 - Grille and Grille Housing
- Group 1927 - Fenders
- SECTION 20 - SAFETY, CONVENIENCE AND MISCELLANEOUS
- Group 2002 - Mirror
- Group 2004 - Horn and Warning Devices
- Group 2006 - Cigar Lighter
- SECTION 21 - MAIN HYDRAULIC SYSTEM
- Group 2160 - Hydraulic System
- Group 2199 - Specifications and Special Tools
- SECTION 35 - SCRAPER AND HAULAGE DEVICE
- Group 3501 - Blades or Cutting Edges
- Group 3540 - Frames
- Group 3560 - Hydraulic System
- Group 3599 - Specifications and Special Tools
- SECTION 36 - CONVEYOR AND ELEVATING DEVICE
- Group 3612 - Conveyor or Mast
- Group 3640 - Frames
- Group 3650 - Gearbox
- Group 3660 - Hydraulic System
- Group 3699 - Specifications and Special Tools
- SECTION 90 - SYSTEM TESTING
- Group 9005 - General Information - Seven Basic Steps of Testing and Diagnosis
- Group 9010 - Engine
- Group 9015 - Electrical
- Group 9020 - Power Train
- Group 9025 - Hydraulic System (Flow Meter)
- Group 9031 - Heating and Air Conditioning
- Group 9035 - Specifications and Special Tools
Screenshots for John Deere 762A Scraper TM1225 Technical Manual PDF:
Our company provides for sale original spare part catalogs, workshop manuals, diagnostic software for all models of engines, cars, trucks, buses, forklifts, tractors, harvesters, cranes, buldozers, generators, construction and agricultural machines, motorcycles. To purchase a catalog online, please add the product to your cart, fill in the contact form online. Our managers proceed your order the same day.
Related products for John Deere 762A Scraper TM1225 Technical Manual PDF:
John Deere USB-Link 3 Wireless Machine Interface
This is the John Deere USB-Link 3 Wireless Machine Interface. It is the latest adapter from John Deere, replacing the John Deere EDL v3.
1699$
[2025]
|
John Deere Service Advisor AG & CF 5.4.44 [06.2025] Technical manuals & Diagnostic Software
John Deere Service Advisor 5.4 (06/2025) for Agricultural & Construction equipment offline — order now!
999$
[06/2025]
|
![]() John Deere Service Advisor 5.4.84 (replaces 5.3) 2026 Offline Agriculture & Turf Equipment Division
This is the latest John Deere Service Advisor 5.4.84 (03/2026) for Agricultural equipment — order now for easy remote installation and dedicated support.
499$
[03/2026]
|
![]() John Deere Service Advisor 5.4.44 (replaces 5.3) Offline 2025 Construction and Forestry Equipment
Shop the latest version of JDSA 5.4 2025 Construction or Agricultural equipment online. The ultimate solution for JD technicians. Available for download!
499$
[06/2025]
|




