Bobcat X120 Compact Excavator PDF Service Manual
[03/1987]The service manual contains technical information, repair and service instructions, technical specifications, charts and schematics, intended for Bobcat Compact Excavators X 120.
Model:
X120
Section:
Diesel Engine
Electrical Equipment
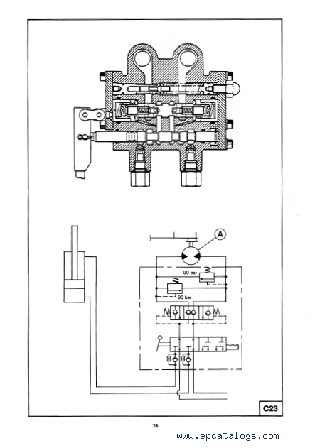
Hydraulic Systems
Tools Check Lists
Service manual helps to troubleshoot existing and potential problems, to carry out maintenance and repair problem areas and equipment faults. Even an inexperienced user can use the Bobcat X120 Compact Excavator PDF Service Manual in PDF format.
Features of the Manual
Format: PDF
Language: English
Pages: 88
Compatible with all versions of Windows, Mac, Linux, iPhone, iPad, and Android
The service manual includes a complete description of repair and troubleshoot procedures, step by step instructions, technical specifications, etc. You will be able to use the search function to browse the manual and print out your needed pages.
FAQs
How do I download the manual?
You can purchase this manual on our website in the easiest way - by clicking on the buy now. Within a few minutes, you will receive an email with all the information on installation and use.
Is the manual printable?
If necessary, you can print pages, pictures, charts, or the entire manual completely.
Still have questions?
If you have any questions about this guide - write to us, and we will answer all your questions.
Screenshots for Bobcat X120 Compact Excavator PDF Service Manual:
Our company provides for sale original spare part catalogs, workshop manuals, diagnostic software for all models of engines, cars, trucks, buses, forklifts, tractors, harvesters, cranes, buldozers, generators, construction and agricultural machines, motorcycles. To purchase a catalog online, please add the product to your cart, fill in the contact form online. Our managers proceed your order the same day.
Related products for Bobcat X120 Compact Excavator PDF Service Manual:
Bobcat Parts Catalog 2004
All Bobcat production
65$
[08/2004]
|
Bobcat Telescopic Handlers Set of PDF Parts Manuals
PDF parts manuals contain parts and accessories information, detailed parts lists, illustrations and pictures for telescopic handlers Bobcat.
40$
[]
|
Bobcat S130 Skid Steer Loader Service Manual PDF
This tutorial includes step by step repair instructions, detailed diagrams and charts, safety rules, maintenance, specifications, engine service, system section.
50$
[2006. 2008, 2009 2013]
|
Bobcat Loaders
Spare parts catalog for Bobcat Loaders.
50$
[01/2005]
|




